Samsungs dreifach faltbares Smartphone-Patent bestätigt seine Entwicklung

Samsungs dreifach faltbares Smartphone-Patent bestätigt seine Entwicklung

Es gibt immer wieder neue Informationen über Samsungs mögliches dreifach faltbares Smartphone, die die Gerüchte über eine Veröffentlichung im Jahr 2025 bestätigen. Samsung reichte bereits 2021 einen Patentantrag für ein dreifach faltbares Smartphone ein, erhielt aber erst im November 2024 die Genehmigung.

Was bekannt ist

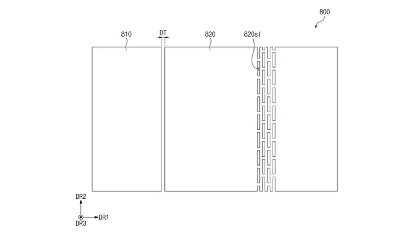
Das neue Patent liefert weitere Details über das potenzielle Gerät. Das Patent beschreibt Systeme, die Samsung einsetzen könnte, um die Integrität des Bildschirms und des Geräts als Ganzes zu gewährleisten. Das Innendesign zielt darauf ab, den Druck auf den Bildschirm beim Ein- und Ausklappen zu minimieren und das Ausklappen zu erleichtern, indem übermäßige Kräfte vermieden werden.

1
2
3
4

Das Gehäuse des Geräts enthält Klebstoffschichten und Rückseitenplatten aus Edelstahl oder Glas, um die Stabilität des Bildschirms zu gewährleisten. Das Patent erwähnt auch ein Antireflexionssystem auf der Grundlage einer Kunstharzschicht und ein Dämpfungssystem zum Schutz vor Stößen und Stürzen.

Auch wenn Samsung nicht mehr das erste große Unternehmen sein wird, das ein Gerät mit dieser Form auf den Markt bringt (Huawei hat bereits sein erstes Triple-Smartphone auf den Markt gebracht), zeigt das Patent, dass das Unternehmen daran interessiert ist, Technologien zu entwickeln, die die Zuverlässigkeit und Haltbarkeit seiner zukünftigen faltbaren Smartphones verbessern.

Quelle: MSPowerUser

Fügen Sie Gagadget zu Ihrem Google News-Feed hinzu Google News
var _paq = window._paq = window._paq || []; _paq.push(['trackPageView']); _paq.push(['enableLinkTracking']); (function() { var u='//mm.magnet.kiev.ua/'; _paq.push(['setTrackerUrl', u+'matomo.php']); _paq.push(['setSiteId', '9']); var d=document, g=d.createElement('script'), s=d.getElementsByTagName('script')[0]; g.async=true; g.src=u+'matomo.js'; s.parentNode.insertBefore(g,s); })();