Apple hat ein Patent für ein Scharnier der nächsten Generation für ein mögliches faltbares iPhone oder iPad erhalten

Apple hat ein Patent für ein Scharnier der nächsten Generation für ein mögliches faltbares iPhone oder iPad erhalten
Konzept für ein faltbares iPhone. Quelle: Michal Dufka

Apple hat ein neues Patent für ein Scharnier für faltbare Geräte erhalten, das in Smartphones, Tablets, Laptops und sogar tragbaren Geräten verwendet werden kann.

Was bekannt ist

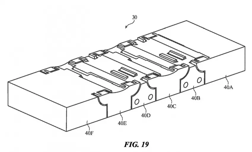
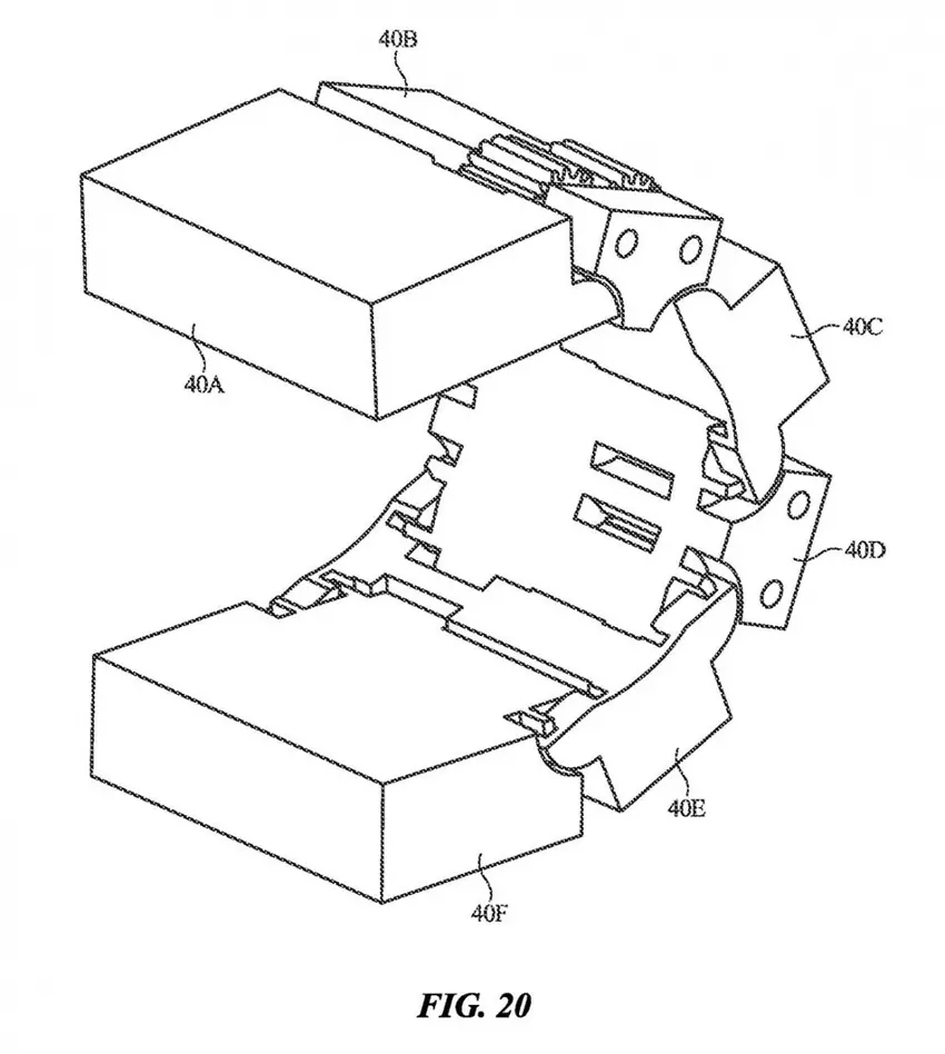
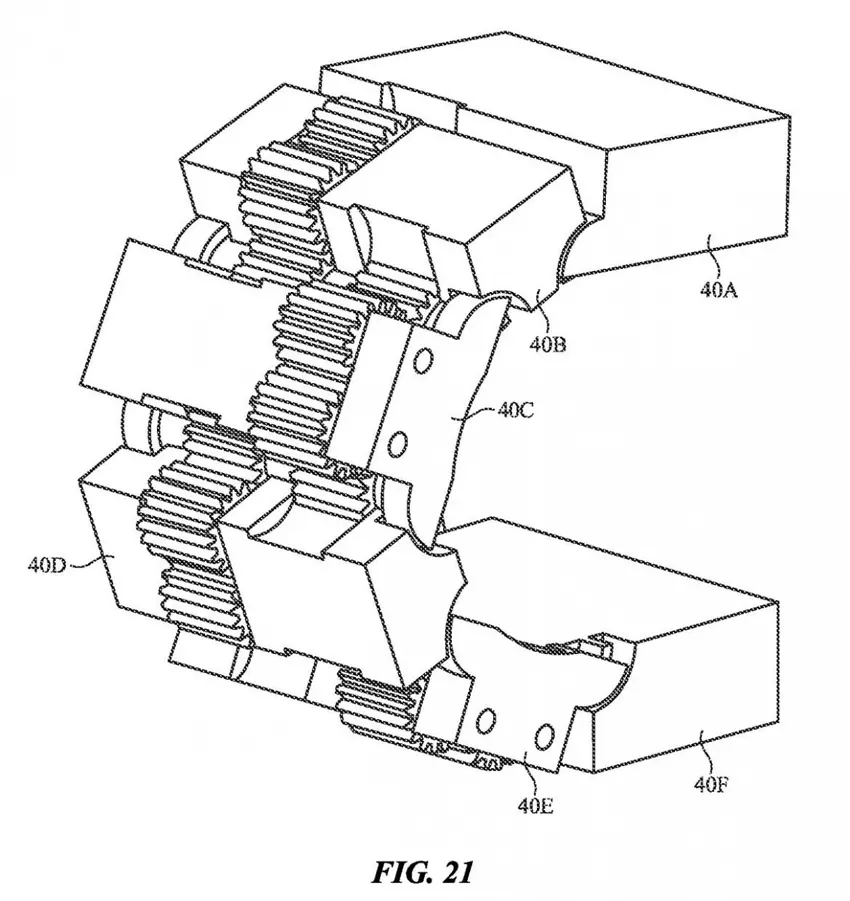
Das Patent beschreibt eine Reihe von ineinandergreifenden Gliedern, die aus miteinander verbundenen "Fingern" und einer Reibungskupplung bestehen. Ein wesentliches Merkmal ist die Verwendung von sichelförmigen Schlitzen, die es jedem Glied ermöglichen, sich relativ zu den anderen zu drehen, wodurch die Drehachse über das Glied selbst hinaus verlagert wird. Dies gewährleistet ein gleichmäßiges und ausgewogenes Falten der Einheit mit genau dem richtigen Maß an Reibung. Das Scharnier enthält außerdem synchronisierende Zahnradplatten, die sicherstellen, dass sich beide Seiten des Scharniers gleichmäßig drehen.

1
2
3
4
5

Es wurde bereits berichtet, dass Apple an einem faltbaren iPhone und größeren faltbaren Geräten wie dem iPad und dem MacBook arbeitet, aber bei der Entwicklung des Displays und der mechanischen Komponenten auf technische Herausforderungen stieß. Das neue Patent könnte dem Unternehmen helfen, diese Herausforderungen zu überwinden und die Haltbarkeit und Funktionalität seiner zukünftigen faltbaren Geräte zu verbessern.

Quelle: GSMArena

Fügen Sie Gagadget zu Ihrem Google News-Feed hinzu Google News
var _paq = window._paq = window._paq || []; _paq.push(['trackPageView']); _paq.push(['enableLinkTracking']); (function() { var u='//mm.magnet.kiev.ua/'; _paq.push(['setTrackerUrl', u+'matomo.php']); _paq.push(['setSiteId', '9']); var d=document, g=d.createElement('script'), s=d.getElementsByTagName('script')[0]; g.async=true; g.src=u+'matomo.js'; s.parentNode.insertBefore(g,s); })();