Google patentiert Smartphones mit Display, Lautsprecher und Augensteuerung

Google patentiert Smartphones mit Display, Lautsprecher und Augensteuerung
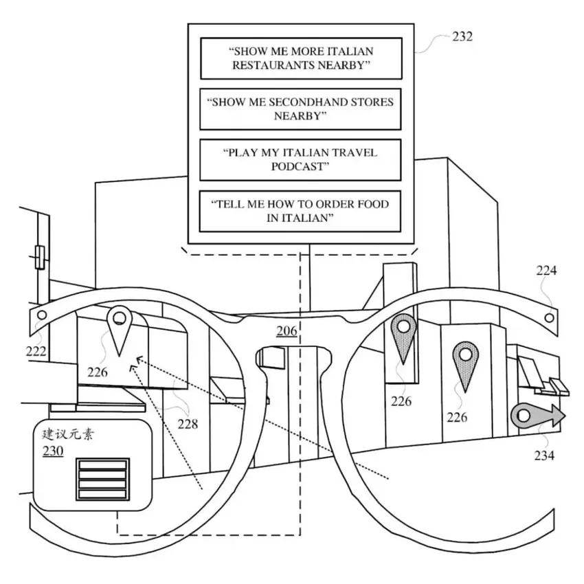
Eine Skizze der zukünftigen intelligenten Brille von Google. Quelle: Android Headlines

Google bereitet sich wahrscheinlich auf einen neuen Versuch vor, das Smartglasses-Projekt umzusetzen, vor allem dank eines neuen Patents für eine Brille mit eingebautem Display, Lautsprechern und Eye-Tracking-Technologie.

Was bekannt ist

Das Patent wurde in China über die nationale Behörde für geistiges Eigentum CNIPA eingereicht.

Diese Smartglasses müssen mit einem Smartphone verbunden werden, um Daten zu verarbeiten, was dazu beiträgt, Batteriestrom zu sparen.

Neben einem Display und Lautsprechern sind die Brillen mit einem Mikrofon und Kameras ausgestattet und unterstützen Sprachsteuerung, Tippen und Gesten.

1
2
3

Außerdem nutzt sie Ihre Standortdaten, um Tipps und Navigationsfunktionen bereitzustellen.

Auch wenn es sich nur um ein Patent handelt, hat die Technologie bereits das notwendige Niveau für die erfolgreiche Umsetzung von Smart Glasses erreicht, und es ist durchaus möglich, dass solche Geräte in naher Zukunft auf den Markt kommen.

Quelle: Android Schlagzeilen

Fügen Sie Gagadget zu Ihrem Google News-Feed hinzu Google News
var _paq = window._paq = window._paq || []; _paq.push(['trackPageView']); _paq.push(['enableLinkTracking']); (function() { var u='//mm.magnet.kiev.ua/'; _paq.push(['setTrackerUrl', u+'matomo.php']); _paq.push(['setSiteId', '9']); var d=document, g=d.createElement('script'), s=d.getElementsByTagName('script')[0]; g.async=true; g.src=u+'matomo.js'; s.parentNode.insertBefore(g,s); })();