Rivian hat ein Patent für beheizte LED-Linsen auf Basis von Kohlenstoffnanoröhren angemeldet

Rivian hat ein Patent für beheizte LED-Linsen auf Basis von Kohlenstoffnanoröhren angemeldet
Rivian R2. Quelle: Rivian

Besitzer von Rivian-Elektroautos beschweren sich oft über Eisbildung auf LED-Scheinwerfern. Dies ist ein häufiges Problem bei dieser Art von Scheinwerfern, das auch bei anderen Marken auftritt. Aber es scheint, dass der amerikanische Hersteller von elektrischen Pickups und SUVs eine originelle Lösung gefunden hat - beheizte Linsen.

Was bekannt ist

Der Antrag wurde im Juni 2023 beim US-Patent- und Markenamt (USPTO) eingereicht und im Dezember 2024 öffentlich gemacht. Das Dokument wurde uns von unseren Kollegen von Motor Authority zugespielt. Darin heißt es, dass Rivian erwägt, ein Heizelement hinzuzufügen, das dank integrierter Kohlenstoff-Nanoröhrchen Wärme durch die Linse überträgt.

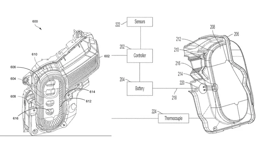
Schematische Darstellung des Rivian-Scheinwerfers mit beheizter LED-Linse.
Schematische Darstellung eines Rivian-Scheinwerfers mit einer beheizten LED-Linse. Quelle: Motor Authority

Rivian hätte das Problem auch auf die altmodische Art lösen können, indem man beheizte Scheinwerferreinigungsdüsen einbaut, aber beheizte Linsen scheinen eine elegantere und technologisch fortschrittlichere Lösung zu sein. Die Nanoröhren wurden so gewählt, dass sie den Lichtdurchgang durch die Linse nicht behindern. Es wird jedoch interessant sein zu sehen, was Rivian tatsächlich in die Produktion bringt.

Die Patentzeichnungen zeigen einen Scheinwerfer mit typischem Rivian-Design, so dass unklar ist, ob er für den R1, R2 oder R3 gedacht ist.

Quelle: Motor Authority

Fügen Sie Gagadget zu Ihrem Google News-Feed hinzu Google News
var _paq = window._paq = window._paq || []; _paq.push(['trackPageView']); _paq.push(['enableLinkTracking']); (function() { var u='//mm.magnet.kiev.ua/'; _paq.push(['setTrackerUrl', u+'matomo.php']); _paq.push(['setSiteId', '9']); var d=document, g=d.createElement('script'), s=d.getElementsByTagName('script')[0]; g.async=true; g.src=u+'matomo.js'; s.parentNode.insertBefore(g,s); })();