Ford hat ein Modell eines manuellen Schalthebels für Elektroautos patentiert

Ford hat ein Modell eines manuellen Schalthebels für Elektroautos patentiert
Schaltgetriebehebel am Ford Focus (2011). Quelle: Ford

Elektroautos beschleunigen sofort und müssen nicht geschaltet werden. Aber Ford fand das zu langweilig und patentierte einen manuellen Schalthebel für Elektroautos. Er ändert zwar nicht die tatsächliche Übersetzung, aber er schafft die Illusion eines Schaltgetriebes für Liebhaber des Oldtimerfahrens.

Was bekannt ist

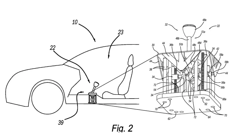
Das am 20. März veröffentlichte Patent mit dem Titel"Shifter Assembly For Electric Vehicle" beschreibt einen klassischen Schalthebel, der wie in einem alten Ford Mustang am Boden befestigt wird. Doch statt mit einem Schaltgetriebe verbunden zu sein, überträgt er lediglich Signale an eine elektronische Steuerung, die das Motordrehmoment variiert. Das heißt, der Fahrer bewegt den Hebel, als ob er schalten würde, und die Elektronik simuliert Leistungspausen, um das Gefühl eines manuellen Getriebes eines Autos mit Verbrennungsmotor zu erzeugen.

Schema eines mechanischen Getriebesimulators für Elektrofahrzeuge aus einer Patentdokumentation
Schematische Darstellung eines mechanischen Getriebesimulators für Elektroautos aus den Patentunterlagen. Illustration: Ford

Die Idee ist nicht neu: Hyundai hat einen ähnlichen Effekt bereits im Ioniq 5 N mit Hilfe von Schaltwippen realisiert, und Toyota testet ein Elektroauto mit einem Kupplungssimulator und sogar der Möglichkeit, den Motor abzustellen. Ford ist jedoch den anderen Weg gegangen - kleine Motoren sind in die Basis des Schalthebels eingebaut, die beim Schalten einen Widerstand erzeugen, um ein volles Gefühl zu vermitteln.

Im Moment ist es nur ein Patent. Ursprünglich wurde es für 2023 angemeldet, Ford hat also schon eine Weile darüber nachgedacht. Ob es diese Idee in die Serienproduktion schaffen wird, ist nicht bekannt.

Quelle: InsideEVs

Fügen Sie Gagadget zu Ihrem Google News-Feed hinzu Google News
var _paq = window._paq = window._paq || []; _paq.push(['trackPageView']); _paq.push(['enableLinkTracking']); (function() { var u='//mm.magnet.kiev.ua/'; _paq.push(['setTrackerUrl', u+'matomo.php']); _paq.push(['setSiteId', '9']); var d=document, g=d.createElement('script'), s=d.getElementsByTagName('script')[0]; g.async=true; g.src=u+'matomo.js'; s.parentNode.insertBefore(g,s); })();