Hybride Porsche-Autos werden dank eines speziellen Elektromotors leichter und leistungsstärker

Hybride Porsche-Autos werden dank eines speziellen Elektromotors leichter und leistungsstärker
Porsche 911 Carrera GTS. Quelle: Porsche

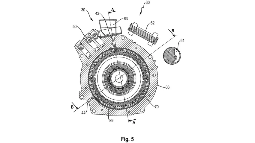
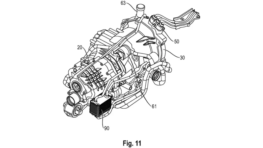
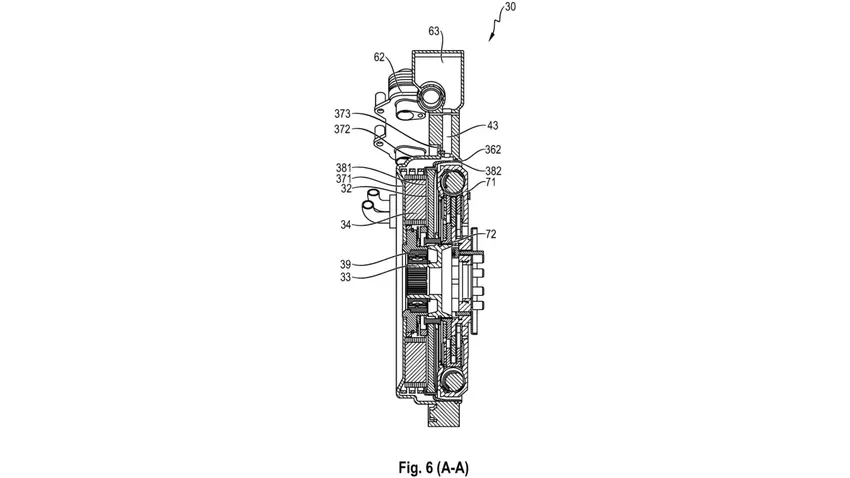
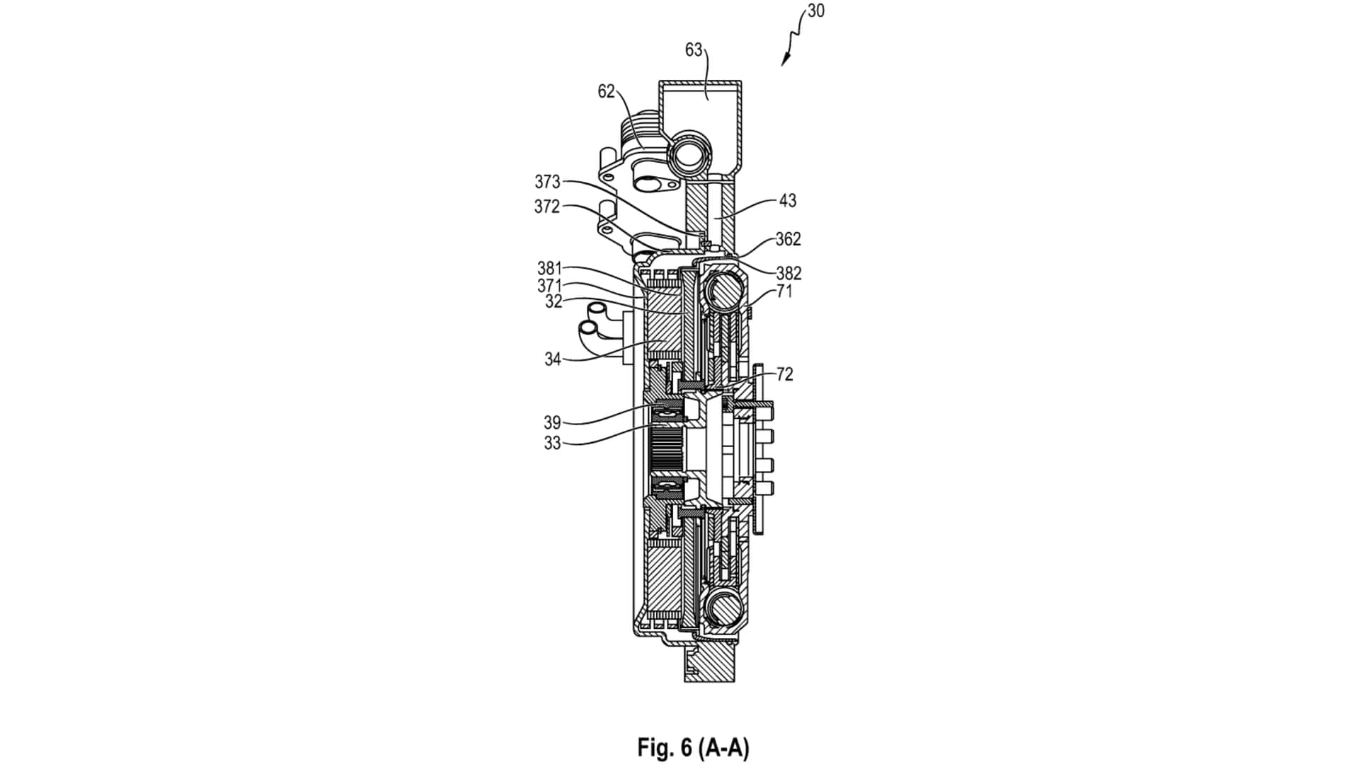
Porsche hat ein Patent für einen Hybridantrieb angemeldet, der kompakte und leichte Elektromotoren mit axialem Fluss vom Zulieferer Yasa mit einem Verbrennungsmotor kombiniert.

Was bekannt ist

Das Patent wurde bei der World Intellectual Property Organization (WIPO) registriert. Das Dokument gilt für jedes Personenfahrzeug, aber es wird speziell die Verwendung "in Sportwagen" erwähnt.

Anstatt wie derzeit beim Porsche 911 Carrera GTS einen relativ großen radialen Elektromotor im PDK-Getriebegehäuse zu installieren, wird ein dünner Elektromotor mit axialem Fluss zwischen Motor und Getriebe platziert.

Der Motor mit axialem Fluss (auch als "Scheibenmotor" bekannt) ist ein Elektromotor, bei dem der magnetische Fluss parallel zur Rotationsachse verläuft, im Gegensatz zu herkömmlichen radialen Motoren, bei denen der Fluss senkrecht zur Achse ist. Dies ermöglicht die Schaffung von kompakteren, leichteren und effizienteren Designs mit hoher spezifischer Leistung und Drehmoment, insbesondere bei niedrigen Geschwindigkeiten.

1
2
3
4
5

Das Patent spezifiziert, dass der Elektromotor und der Verbrennungsmotor gemeinsam über ein Doppelkupplungsgetriebe arbeiten werden. Dank des ultradünnen Designs des Elektromotors (in einigen modernen Modellen ist er nur 7,9 Zentimeter dick) wird er die Länge des gesamten Antriebsstrangs nicht erhöhen.

Es wird behauptet, dass ein solches Design zur Reduzierung der Wärmeentwicklung beiträgt. In Kombination mit einer durchgängigen Schalen- oder Glockenförmigen Kammer, die im Dokument beschrieben wird, sollten der Elektromotor und der Verbrennungsmotor eine ausreichende Kühlung erhalten. Die Hauptfrage lautet: Wie viel Leistung kann dieses Hybridsystem erzeugen?

Es ist bekannt, dass die leistungsstärksten Einheiten von Yasa mehr als 470 PS und 800 Nm Drehmoment erreichen. Der Hybrid Ferrari SF90 verwendet drei Yasa-Motoren mit einer Gesamtleistung von 217 PS, während zwei Lamborghini Revuelto-Motoren knapp unter 296 PS entwickeln. Aber beide Systeme arbeiten in Kombination mit großen V8- und V12-Motoren.

Wenn Porsche den neuen Elektromotor mit axialem Fluss mit einem 3,6-Liter-Turbomotor kombiniert, könnte die Gesamtleistung des Systems mehr als 800 PS erreichen.

Quelle: Carbuzz

Fügen Sie Gagadget zu Ihrem Google News-Feed hinzu Google News
var _paq = window._paq = window._paq || []; _paq.push(['trackPageView']); _paq.push(['enableLinkTracking']); (function() { var u='//mm.magnet.kiev.ua/'; _paq.push(['setTrackerUrl', u+'matomo.php']); _paq.push(['setSiteId', '9']); var d=document, g=d.createElement('script'), s=d.getElementsByTagName('script')[0]; g.async=true; g.src=u+'matomo.js'; s.parentNode.insertBefore(g,s); })();