Apple will die MacBook-Tastatur um eine abnehmbare Taste erweitern, die sich in eine Maus verwandeln lässt

Apple will die MacBook-Tastatur um eine abnehmbare Taste erweitern, die sich in eine Maus verwandeln lässt

Für einige präzise Aufgaben wie Grafikdesign, computergestütztes Design und Modellierung sowie die Bearbeitung großer und komplexer Dokumente ist es oft bequemer, eine Maus mit einem Laptop zu verwenden, als  ein Trackpad. Apple ist der Meinung, dass das Mitführen einer separaten Maus lästig werden kann, und hat daher eine Möglichkeit gefunden, eine Maus direkt in die MacBook-Tastatur zu integrieren.

Wie funktioniert das?

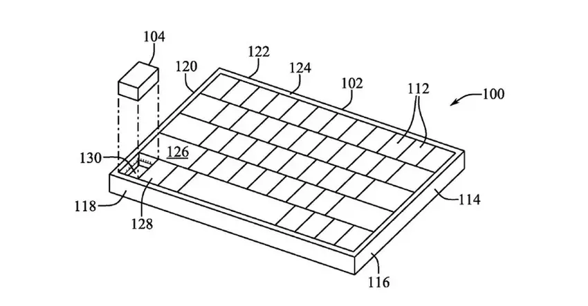
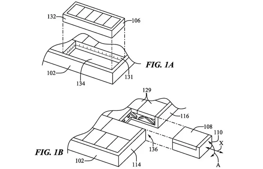
Die Idee ist in einer Patentanmeldung beschrieben, die bei dem US-Patent- und Markenamt  eingereicht wurde. Die Dokumentation bezieht sich auf eine normale MacBook-Tastatur mit einem Scherensystem. Nur in verbirgt sich eine abnehmbare Taste, die auch als Maus fungiert.

Die Abbildungen des Patents zeigen eine einziehbare Taste, die näher am Rand der Tastatur liegt, so dass sie nicht oft benutzt werden wird. Durch das Design von hat der Schlüssel eine kleine Batterie. In der Tastatur wird sie als normale Taste verwendet, und wird, wenn sie entfernt wird, zu einer Maus. - . Er verfügt über einen Positionssensor in , mit dem Sie den Cursor auf steuern können.

Natürlich kann man bezweifeln, dass eine solche Maus bequem zu benutzen ist, da sie zu klein ist.  Vergessen Sie aber nicht, dass es sich nur um ein Patent handelt. Es wäre also nicht verwunderlich, wenn die Idee auf Papier bleibt.

Quelle: Macrumors

Fügen Sie Gagadget zu Ihrem Google News-Feed hinzu Google News
var _paq = window._paq = window._paq || []; _paq.push(['trackPageView']); _paq.push(['enableLinkTracking']); (function() { var u='//mm.magnet.kiev.ua/'; _paq.push(['setTrackerUrl', u+'matomo.php']); _paq.push(['setSiteId', '9']); var d=document, g=d.createElement('script'), s=d.getElementsByTagName('script')[0]; g.async=true; g.src=u+'matomo.js'; s.parentNode.insertBefore(g,s); })();