Medien: Das Patent von Sony wird es ermöglichen, dass Zubehör von alten PlayStations auf neuen Konsolen funktioniert

Medien: Das Patent von Sony wird es ermöglichen, dass Zubehör von alten PlayStations auf neuen Konsolen funktioniert

Alle paar Jahre kündigen Spielefirmen neue Konsolen an. Aber mit dem Übergang zu moderner Hardware blieben den Spielern viele Zubehörteile der vorherigen Generation übrig, die mit der neuen nicht kompatibel waren. Glaubt man dem neusten Patent Sony, Eigentümer Playstation bald müssen Sie sich keine Sorgen mehr machen.

Gesellschaft veröffentlicht Dokument bereits am 30. Juni, aber die meisten Veröffentlichungen haben ihm erst jetzt Aufmerksamkeit geschenkt. Das Patent mit dem Titel „Systems and Methods for Converting Obsolete Software Code and Updates“ beschreibt einen Prozess zur Emulation von Software, die für den Betrieb veralteter Peripheriegeräte erforderlich ist Playstation

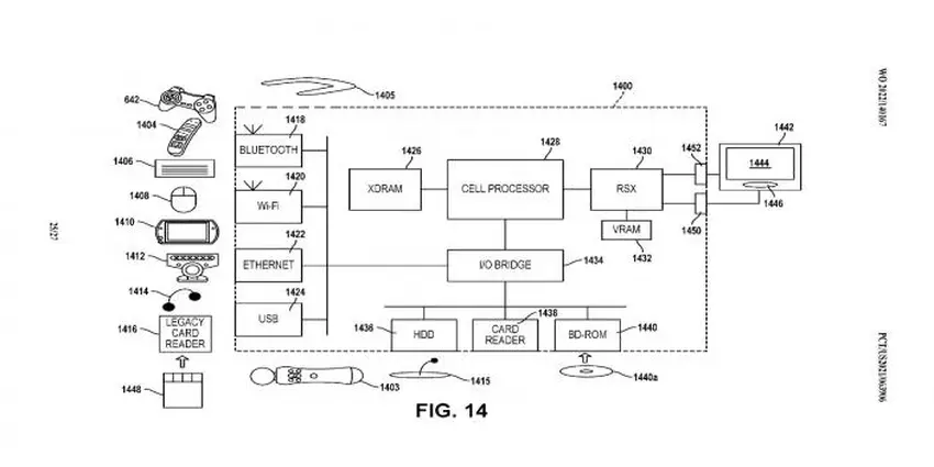
Das Dokument enthält viel Fachjargon, was es für diejenigen, die das Thema nicht verstehen, schwierig macht, das Prinzip der Idee zu verstehen. Aber das Schema mit dem Bild des alten Zubehörs für Playstation, einschließlich EyeToy, PS-Maus, PS1-Controller (noch ohne Analogsticks) und dem mysteriösen Legacy-Kartenleser. Es ist wahrscheinlich, dass die Emulation ein Niveau erreicht, das die Verwendung von Hardware auf neueren PlayStations ermöglicht. Beispielsweise wird der zuvor erwähnte Kartenleser in der Lage sein, Spielstände von den originalen PS1- und PS2-Speicherkarten zu lesen. 

Vergessen Sie nicht, dass Patente oft nur auf dem Papier stehen. Allerdings Bewegungen Sony im Bereich der Bewahrung des Gaming-Erbes dürfte Retrogaming-Fans erfreuen. Es ist möglich, dass früher oder später die Kompatibilität von PS3-Projekten mit neueren Konsolen nicht über Cloud-Dienste erreicht werden kann.  

Für alle, die mehr wissen wollen:

Fügen Sie Gagadget zu Ihrem Google News-Feed hinzu Google News
var _paq = window._paq = window._paq || []; _paq.push(['trackPageView']); _paq.push(['enableLinkTracking']); (function() { var u='//mm.magnet.kiev.ua/'; _paq.push(['setTrackerUrl', u+'matomo.php']); _paq.push(['setSiteId', '9']); var d=document, g=d.createElement('script'), s=d.getElementsByTagName('script')[0]; g.async=true; g.src=u+'matomo.js'; s.parentNode.insertBefore(g,s); })();