Samsung hat möglicherweise ein neues Design für den intelligenten Ring Galaxy Ring der nächsten Generation patentiert

Samsung hat möglicherweise ein neues Design für den intelligenten Ring Galaxy Ring der nächsten Generation patentiert

Samsung könnte den mit Spannung erwarteten Smart Ring Galaxy Ring noch vor der Unpacked-Veranstaltung am 10. Juli enthüllen. Es wird erwartet, dass das Gerät das neue Wort in der Wearable-Gadget-Industrie sein wird. Eine kürzlich entdeckte Patentanmeldung hat Gerüchte über die Entwicklung der nächsten Generation des intelligenten Rings, möglicherweise des Galaxy Ring 2, angeheizt.

Was bekannt ist

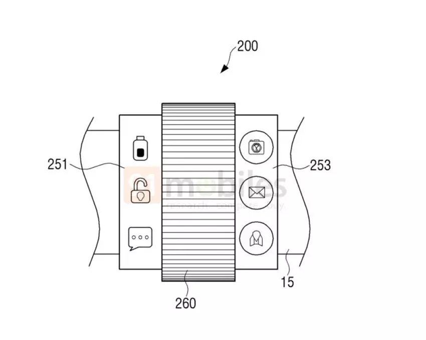
Das Design der ersten Generation des Galaxy Rings folgt der klassischen runden Form mit einer inneren und einer äußeren Schicht, zwischen denen sich alle Sensoren befinden. Diese schmiegen sich an die Haut des Nutzers an und sorgen für eine genaue Messung der Gesundheitsdaten. Samsung scheint bereits die ersten Schritte zur Entwicklung einer zweiten Generation des Rings unternommen zu haben. Ein kürzlich veröffentlichtes Patent zeigt einen Ring mit einem vergrößerten Teil der Außenseite, der leicht abgeflacht ist. Die innere Schicht bleibt aus offensichtlichen Gründen vollständig rund.

1
2
3
4
5
6

Dieses Design lässt den Ring dekorativer aussehen. Vielleicht versucht Samsung, die Ästhetik des Galaxy Rings zu verbessern, damit die Leute mehr Gründe haben, ihn zu kaufen. Die erhöhte äußere Schicht schafft auch Platz für einen größeren Akku und zusätzliche Sensoren. Möglicherweise denkt das Unternehmen auch über einen kleinen Bildschirm nach. Das tragbare Gerät könnte mit einem Temperatursensor, Beschleunigungssensor, Fingerabdrucksensor und EKG-Messung ausgestattet sein.

Nach Angaben von 91Mobiles wurde das Patent im Mai 2024 in den USA angemeldet. Wenn man bedenkt, dass die erste Generation des Galaxy Rings zu diesem Zeitpunkt bereits fertig war, könnte das vorgestellte Design eine der Optionen für den Galaxy Ring sein. Offiziell gibt Samsung nicht viele Informationen über den Galaxy Ring preis, aber Leaks haben gezeigt, dass das Gerät über umfangreiche Gesundheitsüberwachungsfunktionen verfügt und die Galaxy Watch ersetzen könnte, obwohl es für genauere Ergebnisse besser ist, beide Geräte im Tandem zu verwenden. Weitere Details werden auf der Unpacked-Veranstaltung erwartet, auf der auch neue faltbare Smartphones, Uhren und kabellose Kopfhörer vorgestellt werden.

Quelle: 91Mobiles

Fügen Sie Gagadget zu Ihrem Google News-Feed hinzu Google News
var _paq = window._paq = window._paq || []; _paq.push(['trackPageView']); _paq.push(['enableLinkTracking']); (function() { var u='//mm.magnet.kiev.ua/'; _paq.push(['setTrackerUrl', u+'matomo.php']); _paq.push(['setSiteId', '9']); var d=document, g=d.createElement('script'), s=d.getElementsByTagName('script')[0]; g.async=true; g.src=u+'matomo.js'; s.parentNode.insertBefore(g,s); })();