Ein neues Patent zeigt, dass HONOR an einem neuen Smartphone mit Schiebebildschirm arbeitet

Ein neues Patent zeigt, dass HONOR an einem neuen Smartphone mit Schiebebildschirm arbeitet
HONOR Magic V3. Quelle: HONOR

Neuesten Informationen zufolge arbeitet HONOR möglicherweise an einem eigenen Smartphone mit Schiebebildschirm.

Was bekannt ist

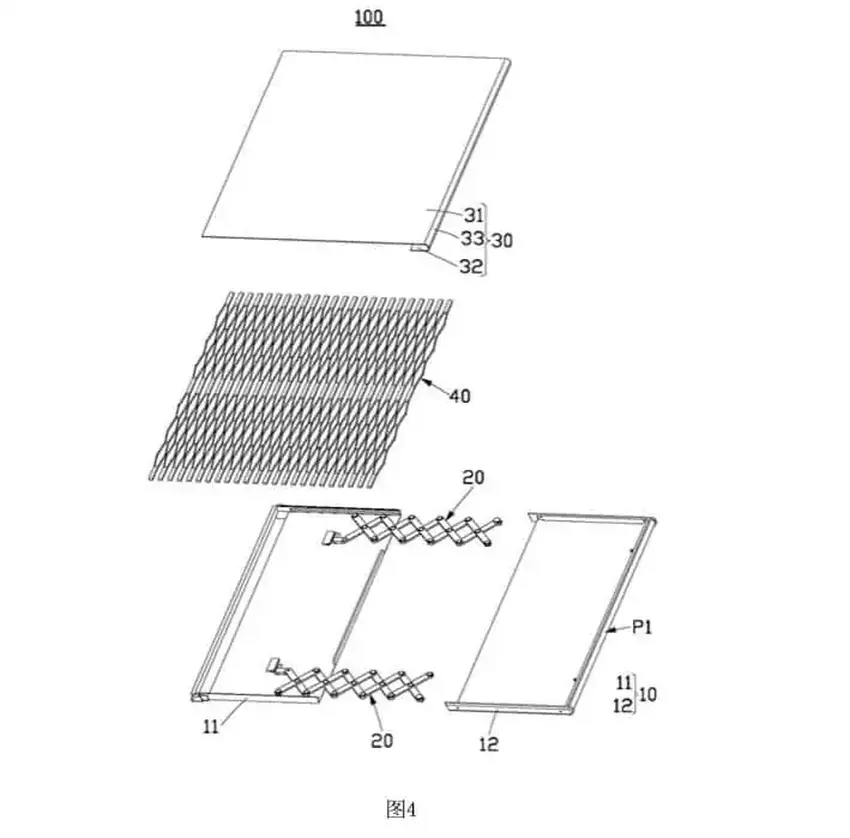
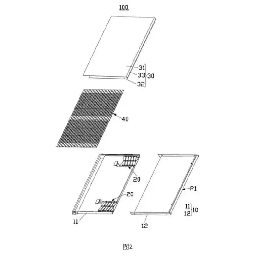
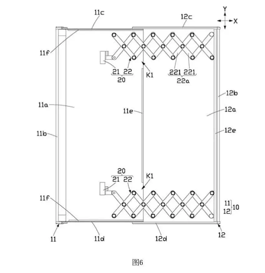
Vor kurzem wurde ein bei der CNIPA (China National Intellectual Property Administration) registriertes Patent entdeckt, das auf die Entwicklung eines Geräts mit verschiebbarem Bildschirm hinweist. Dem Patent zufolge besteht der Bildschirm aus zwei Teilen: Ein Teil bleibt feststehend, der andere gleitet zur Seite heraus. Diese Teile sind durch elastische Balken miteinander verbunden und gesichert, so dass sich der Bildschirm reibungslos bewegen lässt.

1
2
3

HONOR hat mit dem HONOR Magic V3, dem dünnsten und leichtesten faltbaren Telefon auf dem Markt, bereits große Fortschritte bei faltbaren Smartphones gemacht. Nun möchte das Unternehmen sein Know-how auch im Bereich der Schiebebildschirme einsetzen.

Bisher hat noch kein Unternehmen ein kommerziell erhältliches Smartphone mit einem Schiebebildschirm auf den Markt gebracht, obwohl OPPO und LG Konzepte für solche Geräte gezeigt haben. Ob HONOR in der Lage sein wird, seinen Erfolg mit Schiebebildschirmen zu wiederholen, wird die Zeit zeigen.

Quelle: ithome, 91mobiles

Fügen Sie Gagadget zu Ihrem Google News-Feed hinzu Google News
var _paq = window._paq = window._paq || []; _paq.push(['trackPageView']); _paq.push(['enableLinkTracking']); (function() { var u='//mm.magnet.kiev.ua/'; _paq.push(['setTrackerUrl', u+'matomo.php']); _paq.push(['setSiteId', '9']); var d=document, g=d.createElement('script'), s=d.getElementsByTagName('script')[0]; g.async=true; g.src=u+'matomo.js'; s.parentNode.insertBefore(g,s); })();